Helping Lift Weight With Ease Since 1973!

U Clamps

Mangla Hoists supply and deliver U Clamps, also known as a u-bolt clamp or u-bolt clip manufactured by Ferreterro, a leading manufacturer of spanners and hand tools. U-clamp fittings consist of a u-bolt and a saddle secured with two nuts. It is used in wire rope assemblies to secure the ends properly.

Ferreterro's U clamps are heavy-duty wire rope clips for sustaining overhead loads. These clamps are useful in guy lines, support lines, scaffolding and other industrial applications. Mangla's U Clamps are maintenance-free and have a long life as they are both durable and corrosion-resistant.

Product Description

Mangla Hoists offers a very wide range of high-quality Wire Rope U clamps, in multiple sizes and varied load-bearing capacities. These U clamps are manufactured by Ferreterro, the most trusted name in the rope industry.

These U clamps are in constant demand as they are of:

  • Unmatched quality
  • Unbeatable price
  • Highest grade material
  • Corrosion-resistant
  • Longer service life.
  • Dimensionally accurate.
  • Sturdy construction
  • Perfect fitting

Product Features:

  • Material- Stainless Steel
  • Size- 4 mm- 50 mm
  • Finish- Galvanized
  • Shape- U shape
  • Number of Bolts- 2
  • Minimum Order: 100 pieces
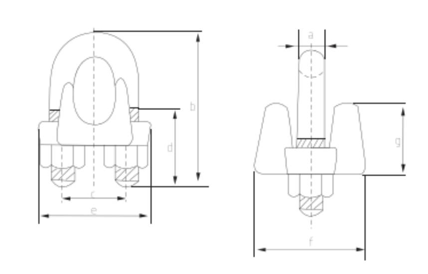
Ferreterro U Clamps Ferreterro U-Clamp specifications table

Technical specifications and Usage

Ferreterro U-Clamp specifications table
D (mm) E (mm) F (mm) G (mm) Torque (Nm) Min. No. of Bolts Net Weight (Kg)
1337301720.320.09
1943331840.730.13
194942256130.20
265848278830.33
3264523312930.46
3772573717640.68
4080624030540.96
4688674430551.18
5191724830551.28
54105795648871.90
59108795848872.00
60112866448882.35
67121926758383.10
74134977880084.20
7815211387101785.80
81162116100101787.30
87168119113101798.25
9117412712410171010.5
10419413513616271014.2
11421315715216271218.1

Are you curious or confused? Feel free to ask anything!

Frequently Asked Questions

  • What is a U Clamp?
    • A U Clamp is named so because the metal is bent into the shape of the letter ‘U’. These adjustable, curveD Shackles have threads on each end that helps in ensuring a perfect fit around wire, pipe or tubes, and thus, provide support or restraint.

      This single piece of fasteners which are manufactured from metal that is durable and noncorrosive. The core metal is very often given an additional protective coating of zinc, fluoropolymer, or thermoplastic, which ensures double protection against corrosion.

  • Industries where U clamps may be used?
    • U Clamps have applications in diverse industries like construction, pharmaceutical, automotive, chemical, etc.

  • How are U clamp threads created?
    • In general, the Thread rolling technique is used to create threads on U Clamps, i.e. the diameter of the bar is slightly less than that of the thread.

  • What materials are used to manufacture U clamps?
    • Generally, U Clamps that are made up of:


      • Galvanized Mild Steel
      • T304 Stainless Steel
      • T316 Stainless Steel
      • Zinc plated Mild Steel

Industries

Mangla Hoists has lent its name, reputation, dedication and services towards providing the best quality products to our clients and in line with this ethos, we have been supplying U Clamps by Ferreterro. Applicability of U Clamps has been in varied industrial and mechanical applications, a few prominent industries who extensively use it are:

  • Pharmaceutical Industry
  • Automotive Industry
  • Chemical Industry
  • Construction Industry

If you are looking to purchase U Clamps and have never tried our services, then please do give us a chance as we are confident that you will never be disappointed. Get the best value for your money!

Mangla Hoist’s Outstanding Products

Contact icon
WhatsApp